REMOVAL & INSTALLATION

1988-92 ModelsEXCEPT AUTOMATIC LEFT SIDE

See Figure 1 through 6

  1. Remove the front wheel. Place a floor jack under the suspension crossmember. Use a broad piece of wood between the jack and crossmember to evenly distribute the loading.
  2.  



Click image to see an enlarged view

Fig. Fig. 1: Front suspension components-1988-92 models

  1. On 4A-GE engines, remove the stabilizer link.
  2.  
  3. On all other models, remove the stabilizer bar nut holding the bar to the lower control arm and separate the unit form the vehicle.
  4.  



Click image to see an enlarged view

Fig. Fig. 2: Remove the two nuts retaining the control arm to the ball joint

  1. Loosen the lower control arm front bolt.
  2.  



Click image to see an enlarged view

Fig. Fig. 3: Now remove the bolts retaining the control arm to the engine crossmember

  1. Remove the rear bracket bolts and nuts. Remove the rear bracket and stabilizer bar bracket. Remove the lower arm front bolt and lower the control arm from the vehicle.
  2.  



Click image to see an enlarged view

Fig. Fig. 4: Remove the bolts and nut holding the bracket to the frame



Click image to see an enlarged view

Fig. Fig. 5: Pull the arm out from under the vehicle

To install:

Click image to see an enlarged view

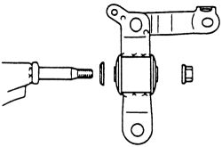
Fig. Fig. 6: When replacing the bushing, remove the nut first

  1. Install the lower control arm to the body.
  2.  
  3. Move the stabilizer bar into position.
  4.  
  5. Temporiarily install and tighten the lower control arm front bolt.
  6.  
  7. Install the stabilizer bar bracket and rear bracket, then temporarily tighten the bolts and nut.
  8.  
  9. Install and tighten the bolt and two nuts to 105 ft. lbs. (142 Nm).
  10.  
  11. Connect the stabilizer bar to the lower control arm with the bolt and nut. If needed, connect the other side also. Tighten to 13 ft. lbs. (18 Nm).
  12.  
  13. Remove the stands and bounce the vehicle up and down to stabilize the suspension. Tighten the lower arm bolt, rear bracket bolts and nut.

    Lower arm front bolt-174 ft. lbs. (235 Nm)
     
    Rear bracket lower arm side-94 ft. lbs. (127 Nm)
     
    Rear bracket stabilizer bar side-37 ft. lbs. (50 Nm)
     
    Rear bracket bolt and nut-14 ft. lbs. (19 Nm)
     

  14.  
  15. Check the front end wheel alignment.
  16.  

AUTOMATIC LEFT SIDE

See Figures 7, 8 and 9

  1. Remove the front wheel. Place a floor jack under the suspension crossmember. Use a broad piece of wood between the jack and crossmember to evenly distribute the loading.
  2.  
  3. Disconnect the left and right lower control arms from the steering knuckles.
  4.  
  5. Remove the left and right stabilizer bar nuts holding the bar to the lower control arms and disconnect the stabilizer bar.
  6.  
  7. Remove the left and right lower arm rear brackets.
  8.  
  9. Move the stabilizer bar toward the rear side, then remove the stabilizer bar bracket.
  10.  
  11. Remove the six bolts and two nuts, then remove the suspension crossmemeber with lower control arms.
  12.  



Click image to see an enlarged view

Fig. Fig. 7: Remove the bolts and nuts retaining the crossmember and lower control arms-2WD models



Click image to see an enlarged view

Fig. Fig. 8: Remove the bolts and nuts retaining the crossmember and lower control arms-4WD models

  1. Remove the lower control arm from the crossmember. Inspect and replace any bushing necessary.
  2.  



Click image to see an enlarged view

Fig. Fig. 9: Remove the remaining bolt retaining the lower control arm to the crossmember

To install:
  1. Temporarily install the lower control arm to the crossmemeber with a bolt.
  2.  
  3. Install the suspension crossmember with the lower control arm to the body.
  4.  
  5. Move the stabilizer bar in position and temporarily install the stabilizer bar bracket and rear bracket.
  6.  
  7. Install the left and right lower control arm to each steering knuckle, then tighten the bolts and nuts to 105 ft. lbs. (142 Nm).
  8.  
  9. Connect the stabilizer bar to the lower control arm with the bolt and nut. If needed, connect the other side also. Tighten to 13 ft. lbs. (18 Nm).
  10.  
  11. Remove the stands and bounce the vehicle up and down to stabilize the suspension. Tighten the lower arm bolt, rear bracket bolts and nut.

    Lower arm front bolt-174 ft. lbs. (235 Nm)
     
    Rear bracket lower arm side-94 ft. lbs. (127 Nm)
     
    Rear bracket stabilizer bar side-37 ft. lbs. (50 Nm)
     
    Rear bracket bolt and nut-14 ft. lbs. (19 Nm)
     

  12.  
  13. Check the front end wheel alignment.
  14.  

1993-95 ModelsEXCEPT AUTOMATIC LEFT SIDE

See Figures 10, 11 and 12

  1. Remove the front wheel. Place a floor jack under the suspension crossmember. Use a broad piece of wood between the jack and crossmember to evenly distribute the loading.
  2.  



Click image to see an enlarged view

Fig. Fig. 10: Exploded view of the lower control arm components

  1. On models with a stabilizer bar, disconnect the bar link from the lower control arm.
  2.  
  3. Remove the ball joint form the lower control arm.
  4.  
  5. Remove the nut, 3 bolts and stabilizer bar bracket with bar.
  6.  



Click image to see an enlarged view

Fig. Fig. 11: Remove the bolt retaining the lower control arm to the body

  1. Remove the bolt and lower control arm.
  2.  

To install:
  1. Install the lower control arm to the body.
  2.  
  3. Move the stabilizer bar into position.
  4.  
  5. Temporarily install and tighten the lower control arm front bolt.
  6.  
  7. Install the stabilizer bar bracket and rear bracket, then temporarily tighten the bolts and nut.
  8.  
  9. Connect the stabilizer bar to the lower control arm with the bolt and nut. If needed, connect the other side also.
  10.  
  11. Install the wheel.
  12.  
  13. Remove the stands and bounce the vehicle up and down to stabilize the suspension. Tighten the lower arm bolt, rear bracket bolts and nut.

    Bolt A-108 ft. lbs. (147 Nm)
     
    Bolt B-37 ft. lbs. (50 Nm)
     
    Nut C-14 ft. lbs. (19 Nm)
     

  14.  



Click image to see an enlarged view

Fig. Fig. 12: Tightening sequence on the control arm bracket bolts-1993-95 models

  1. Check the front end wheel alignment.
  2.  

AUTOMATIC LEFT SIDE

See Figures 13 through 18

  1. Remove the front wheel. Place a floor jack under the suspension crossmember. Use a broad piece of wood between the jack and crossmember to evenly distribute the loading.
  2.  
  3. On models with a stabilizer bar, disconnect the bar link from the lower control arm.
  4.  
  5. Remove the ball joint form the lower control arm.
  6.  
  7. Remove the nut, 3 bolts and stabilizer bar bracket with bar.
  8.  
  9. Disconnect the front pipe from the center pipe and discard the gasket.
  10.  



Click image to see an enlarged view

Fig. Fig. 13: Separate the exhaust where the front pipe meets the center pipe

  1. On the stabilizer bar, remove the nut obtained through a hole in the crossmember. Lower the stabilizer bar. Remove the grommet, 4 nuts and bolt.
  2.  



Click image to see an enlarged view

Fig. Fig. 14: Remove the bolt for the stabilizer bar through the crossmember

  1. Support the suspension crossmember with a jack.
  2.  
  3. Remove the 6 bolts and suspension crossmemeber with the control arms attached. Remove the bolt retaining the control arm to the crossmember.
  4.  



Click image to see an enlarged view

Fig. Fig. 15: With the suspension supported, remove these six crossmember bolts-1993-95 automatic left side

  1. Remove the nut, control arm bracket and cushion retainer.
  2.  



Click image to see an enlarged view

Fig. Fig. 16: Remove the bolt retaining the lower control arm to the crossmember



Click image to see an enlarged view

Fig. Fig. 17: The washer, bracket and nut are removed and installed in this order

To install:
  1. Attach the lower control arm retainer and tighten the nut hand tight for now.
  2.  
  3. Attach the lower control arm to the crossmember.
  4.  
  5. Place the crossmember with control arms into the vehicle, tighten the retaining bolts to 152 ft. lbs. (206 Nm).
  6.  
  7. Install the 4 nuts and bolt, tighten to the following:

    Nut A-35 ft. lbs. (48 Nm)
     
    Bolt B-45 ft. lbs. (61 Nm)
     
    Nut C-45 ft. lbs. (61 Nm)
     
    Control arm bracket retainer nut-101 ft. lbs. (137 Nm)
     

  8.  



Click image to see an enlarged view

Fig. Fig. 18: Center bolt and nuts crossmember tightening locations-1993-95 automatic left side

  1. Attach the stabilizer bar, install the nut and tighten to 14 ft. lbs. (19 Nm).
  2.  
  3. Place a new gasket into position and attach the front pipe to the center pipe. Tighten the retaining nuts to 32 ft. lbs. (43 Nm).
  4.  
  5. Install the remaining components in the reverse order.
  6.  
  7. Remove the stands and bounce the vehicle up and down to stabilize the suspension. Tighten the lower arm bolt, rear bracket bolts and nut.

    Bolt A-108 ft. lbs. (147 Nm)
     
    Bolt B-37 ft. lbs. (50 Nm)
     
    Nut C-14 ft. lbs. (19 Nm)
     

  8.  
  9. Check the front end wheel alignment.
  10.  

1996-97 Models

See Figures 19 and 20

  1. Remove the front wheel. Place a floor jack under the suspension crossmember. Use a broad piece of wood between the jack and crossmember to evenly distribute the loading.
  2.  
  3. Remove the stabilizer bar on vehicles equipped.
  4.  
  5. Remove the bolt and 2 nuts retaining the ball joint to the lower control arm.
  6.  
  7. When working on manual transaxles and right side automatics, remove the 4 bolts and lower control arm.
  8.  
  9. If working on the left side on automatics, remove the 10 bolts, 4 nuts and crossmember with the lower control arms attached. Remove the lower control arm from the crossmember once removed from the vehicle.
  10.  

To install:
  1. To install the left side automatics, attach the lower control arm to the crossmember and place the assembly into the vehicle. Support the crossmember securely.
    1. Install all of the crossmember retaining bolts. Do not tighten them at this tome. Lower the vehicle and stabilize the suspension by bouncing it up and down a few times. Raise and support the vehicle.
    2.  
    3. Once the suspension is stabilized, tighten the lower control arm bolt to 161 ft. lbs. (218 Nm) and tighten the crossmember bolts A, B and C.

      Bolt A-129 ft. lbs. (175 Nm)
       
      Bolt B-167 ft. lbs. (225 Nm)
       
      Bolt C-109 ft. lbs. (147 Nm)
       
      Bolt D-45 ft. lbs. (60 Nm)
       
      Nut-45 ft. lbs. (60 Nm)
       

    4.  
    5. tighten the remaining bolts and nuts.
    6.  

  2.  



Click image to see an enlarged view

Fig. Fig. 19: Tightening identification for the control arm bracket bolts-1996-97 models



Click image to see an enlarged view

Fig. Fig. 20: Tightening bolt identification for the crossmember bolts-1996-97 models

  1. Install the ball joint and tighten to 105 ft. lbs. (142 Nm).
  2.  
  3. Install the stabilizer bar and front wheel.
  4.  
  5. Check the front end wheel alignment.
  6.  

CONTROL ARM BUSING REPLACEMENT

If lower control arm bushings are worn or damaged, replace the complete assembly.